Nếu bạn nghĩ thiết kế lưới tản nhiệt hiện tại của BMW đang vượt quá ranh giới của tính thẩm mỹ, hãy đợi cho đến khi thấy điều gì có thể xảy ra dưới đây.
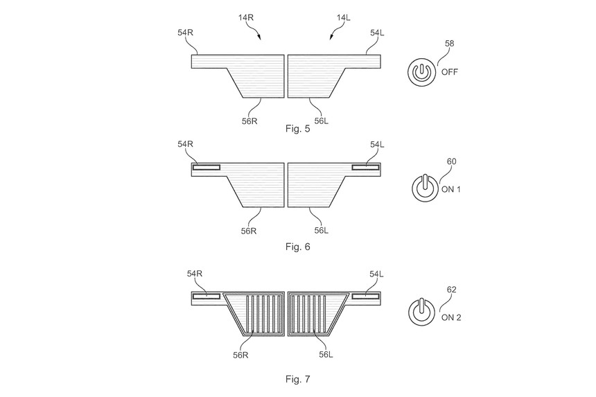
BMW đã phát minh ra một tấm kính phía trước xe tích hợp đèn pha vào bề mặt lưới tản nhiệt tạo ra một bảng điều khiển liền mạch. Theo đó, những thấu kính có thể thay đổi ánh sáng, giúp lưới tản nhiệt có thể chuyển đổi màu sắc tùy ý.

Các thiết kế lưới tản nhiệt hiện tại của BMW gây ra nhiều ý kiến trái chiều, tuy nhiên những nhà tạo mẫu của hãng xe xứ Bavaria cho rằng vẫn còn chỗ cho những thiết kế còn "dị" hơn trong tương lai.
Theo CarBuzz, hãng xe Đức đã đệ trình thiết kế này lên Tổ chức Sở hữu Trí tuệ Thế giới (WIPO) giới thiệu lưới tản nhiệt mới thay cho loại truyền thống, nhiều khả năng phát minh này dành cho thế hệ ô tô điện tiếp theo như BMW thế hệ tiếp theo i7. Như vậy, thay vì có lưới tản nhiệt và đèn pha tách rời, toàn bộ phần đầu xe sẽ hợp lại thành một. Từ phía sau màn chắn, có thể hiển thị các kiểu LED DRL khác nhau và phần thấu kính phía trước đèn pha có thể được chuyển từ mờ đục sang trong suốt.
Xe điện không cần cửa hút gió, vì thế lưới tản nhiệt hình quả thận trên i7, iX và i4 hoàn toàn nhằm mục đích trang trí. Nhưng nếu tấm kính biến đổi màu sắc này được sản xuất, việc không giữ lại bản sắc thương hiệu sẽ gây ra nhiều tranh cãi.
Để giải quyết vấn đề này, các kỹ sư đang đề xuất làm một cụm lưới tản nhiệt hình quả thận giả từ đèn LED, qua đó vẫn giữ được bản sắc nhận dạng của thương hiệu, đồng thời việc đặt hệ thống đèn pha phía sau màn hình giúp giảm tỷ lệ hư hỏng so với những thiết kế trước đó.
Theo những gì BMW đệ lên Tổ chức Sở hữu Trí tuệ Thế giới, thiết kế lưới tản nhiệt mới này còn giúp cho radar ở phần đầu xe hoạt động hiệu quả hơn. Ngoài ra, việc sử dụng nhiều lớp kính chồng lên nhau khiến cho tình trạng đèn pha đóng băng ở những nơi khí hậu lạnh được khắc phục.
Về nguyên lý hoạt động, lớp ngoài cùng sẽ trong suốt làm từ polycarbonate và lớp kính mờ phía trong cũng vậy. Giữa các lớp kính là lớp nhựa cách nhiệt, chống nước và kết nối với nguồn sáng và các nguồn tương ứng với những chức năng khác. Lớp nhựa trên có chức năng dẫn ánh sáng đến những khu vực đã định sẵn.

Như trong bản phác thảo ứng dụng bằng sáng chế, ngoài lưới tản nhiệt và đèn pha, phần thấu kính mới này còn có thể hiển thị thêm chế độ trang trí cũng như phân biệt các dòng xe.
Nếu bạn cho rằng xu hướng lưới tản nhiệt hiện tại của BMW là quá cực đoan, hãy chuẩn bị tinh thần cho các thiết kế "lưới tản nhiệt" mà thiết kế bảng điều khiển phía trước mới này có thể hỗ trợ.
Theo CarBuzz






